Model Number
-
1
GI15NFLTB0
-
2
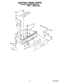
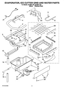
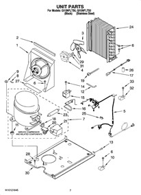
Select a section diagram for - GI15NFLTB0
-
3
Loading parts of sections





