Model Number
-
1
PTH123G35AXXXCA
-
2
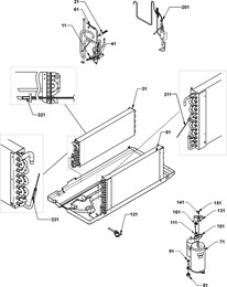
Select a section diagram for - PTH123G35AXXXCA
-
3
Loading parts of sections





