Model Number
-
1
WTW4855HW3
-
2
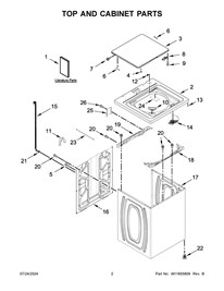
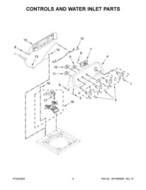
Select a section diagram for - WTW4855HW3
-
3
Loading parts of sections





